当前位置:首页 >> 货架
驶入式货架

【驶入式货架特点】

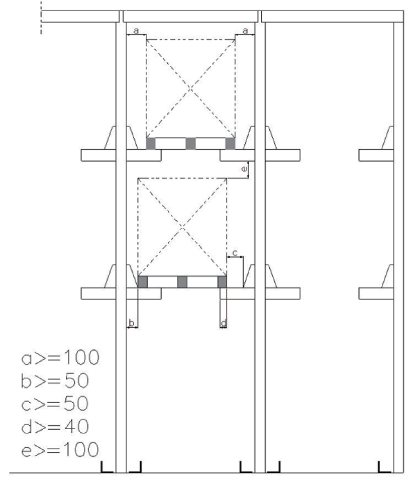
驶入式货架又称通廊式货架或驶入式货架,全插接组装式结构,柱片为装配式结构,牛腿为专用一次性冲压十字型牛腿,强度高刚性好,外形美观,牛腿梁为专轧斜坡式肋筋型超强牛腿梁,顶梁与柱片间为螺栓连接式结构;靠墙区域的货架总深度一般最好控制在9个托盘深度以内,中间区域可两边进出的货架总深度一般最好控制在15个托盘深度以内,以提高叉车存取的效率和可靠性。此种货架系统的稳定性是所有种类货架中较为薄弱的,为此货架不宜过高,一般在11m以内,另外系统中还需加设拉固装置。此种系统货架排布密集,空间利用率极高,几乎是常规托盘式货架的两倍,适于储存少品种大排量同类型货物,货物可从同一侧存入取出(先进后出),也可从一侧存入另一侧取出(先进先出),多用于乳业、饮料等食品行业,冷库中也较为多见。
注:具体规格可按照客户需求定制